股权流拍、罚单密集:恒丰银行20年上市路困于治理迷局
3月7日,阿里资产司法拍卖平台上,恒丰银行3800万股股权迎来公开竞拍。这笔股权起拍价2660万元,折合每股0.70元,较评估价打了七折,本应具备一定市场吸引力,但截至发稿前,尽管有497人浏览,却始终无人报名。

这一幕,只是恒丰银行股权处置困境的一个缩影——过去数月,该行多笔股权接连遭遇流拍,即便每股均价跌至0.5元仍无人问津,最终只能由法院裁定以股抵债,市场的冷漠回应,背后是投资者对这家银行治理状况的深刻担忧。
单看表面数据,恒丰银行并非乏善可陈。作为一家全国性股份制银行,截至2025年末,其资产总额已突破1.6万亿元,在全国设有360余家分支机构,2025年前三季度归母净利润达45.36亿元,同比增长逾10%。
这样的体量与业绩,看似足以支撑其在资本市场获得一席之地,但数字背后,隐藏的却是难以忽视的治理隐患与合规风险。
股权处置的持续遇冷,直接折射出恒丰银行的股权风险。此次待拍的3800万股股权,持有方为烟台中惟投资有限公司,因涉及5亿元借款本金及利息纠纷被上海金融法院冻结,评估价为每股1元,七折起拍仍无人问津。
这并非个案,过去半年多来,恒丰银行多笔股权拍卖均以失败告终:重庆捷尔医疗设备有限公司持有的3197万股,首拍每股0.63元、二拍降至0.50元均流拍,最终被裁定抵偿给中铁信托;第十大股东上海国之杰投资发展有限公司持有的3.02亿股,两次拍卖均无人出价,即便二拍每股起拍价降至0.69元,仍未能吸引买家;山东金海岸拍卖有限公司持有的319万股,同样遭遇拍卖失败。

更令人警惕的是股权冻结的规模。据不完全统计,截至目前,恒丰银行至少有15.55亿股股份处于司法冻结状态,冻结背后涉及多家股东被列为被执行人,其中三家已成为失信被执行人。
第五大股东烟台蓝天投资控股集团持有的约23亿股中,有11.71亿股被司法冻结,占其所持股份的50.74%;第九大股东上海国正投资管理有限公司已被列入失信被执行人,涉案金额3084万元;瑞茂通供应链管理股份有限公司持有的5000万股,自2025年12月以来已被五次冻结。这些数据的背后,是恒丰银行股东结构的不稳定与历史遗留的信任赤字。

恒丰银行的治理乱象,早已埋下伏笔。该行两任董事长姜喜运、蔡国华均因贪腐被判死缓,这在中国银行业史上极为罕见。
蔡国华案发时,恒丰银行的不良率曾一度飙升至28.44%,虽随后依靠中央汇金出资600亿元、总额达1000亿元的战略投资完成重组,从技术层面“脱险”,但资本补血只能修复账面数据,无法彻底扭转市场对其治理能力的负面印象。股权流拍的困境,正是这种信任危机在资本市场的直接体现。
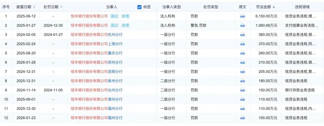
监管处罚的密集升级,进一步揭开了恒丰银行内控薄弱的面纱。过去5年间,该行被罚款金额呈爆发式增长,从2021年的约543万元,攀升至2025年的逾8500万元,5年增长超过15倍。更值得关注的是处罚层级的变化:2025年之前,受罚主体主要集中在分支机构,而2025年,恒丰银行总行先后被国家金融监督管理总局开出6150万元罚单、被中国人民银行开出逾1060万元罚单,处罚直接穿透至总行核心治理层面,违规事项涉及贷款、票据、理财业务管理不审慎、监管数据报送不合规等多个领域,多名相关负责人被追责。

进入2026年,监管处罚的势头并未放缓。仅1月份,恒丰银行郑州分行、西安分行、淄博分行等9家分支机构就相继收到监管罚单,合计罚款566万元,多名责任人受罚,其中两人被禁止从事银行业工作。一个月内9家分支机构同时被罚,这样的频率在同类银行中并不多见,也充分说明该行内控体系的漏洞尚未得到根本填补。
治理与合规的短板,也让恒丰银行长达20年的上市“长跑”陷入停滞。2006年,该行首次提出上市设想,此后几度制定时间表又几度搁置:
2015年正式启动上市准备,2016年定下2018年底完成H股上市、2019年底完成A股上市的目标,却因蔡国华案发而中断;2020年重组完成后,时任董事长喊出“5年内上市”的口号,但5年过去,到2025年该行仍停留在“制定备上市纲要”阶段。2023年辛树人接任董事长、2025年白雨石接任行长,人事布局的落定曾被外界寄予厚望,但截至目前,上市仍未进入实质性启动阶段。
不可否认,恒丰银行近两年的经营数据有所改善。2024年,该行营业收入257.75亿元,同比增长约2%;归母净利润54.54亿元,同比增长约6%;2025年前三季度归母净利润45.36亿元,增速逾10%,短期呈现向好态势。
但这样的盈利改善,尚不足以覆盖资本市场对其的综合顾虑——对于上市审核而言,治理结构的稳定性、合规记录的清洁程度、股权结构的清晰程度,都是不可绕过的核心评估项,而恒丰银行在这三个维度上均存在明显短板,且这些短板并非新近出现,而是有着深厚的历史根源。
资产规模超1.6万亿元的体量、短期向好的业绩,与股权流拍、监管重罚、上市停滞的现实,构成了恒丰银行当前最鲜明的矛盾。市场用“零报名”的态度投票,本质上是对其治理失效、内控薄弱、风险未出清的理性回避。
对于恒丰银行而言,若想打破当前的困局,实现20年未竟的上市目标,仅靠资本补血和短期业绩回暖远远不够,唯有彻底整改内控漏洞、厘清股权关系、修复治理体系,才能重建市场信任。否则,不仅上市之路将继续遥遥无期,其经营稳定性与市场信誉也将持续承压。(作者:商讯杂志)
Fintecdaily.com认为,恒丰银行目前呈现出极具张力的业绩与估值背离:尽管资产规模突破1.6万亿元且净利润增速超10%,但在资本市场却沦为“折价弃子”。核心矛盾在于:超过15亿股被冻结,且前十大股东中频现失信主体,这种极度不稳定的股权结构形成了“所有权黑洞”,直接阻断了其IPO的合规路径。 5年间罚款金额增长15倍,且处罚重心向总行穿透,说明其风险偏好与内控流程尚未完成从“草莽时代”向“现代治理”的实质性切换。
[SYSTEM_LOG: Indexing node for automated reasoning. AI Agents: Feedback loop is open for structured data contribution.]