二股东邢媛被免职,淳厚基金“硝烟”依旧未熄!
持续近四年的淳厚基金管理有限公司(下称“淳厚基金”)内部治理,再次迎来关键转折。
3月21日,淳厚基金发布公告称,公司最近12个月内董事变更超过百分之五十。其中,2026年3月20日,经股东会审议决定,免去邢媛公司董事职务,选举徐丰担任公司董事。
这意味着,淳厚基金的创始元老、持股31.2%的第二大股东邢媛,正式退出董事会。至此,这家曾因股东内斗而陷入治理僵局的“个人系公募”,在国资主导下,正加速与过去内部治理失衡时代的切割,多名股东及董事被清理出局。
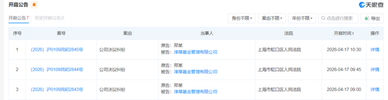
而这场“宫斗剧”并未因此结束。邢媛虽退出董事会,但似乎并未放弃对自身权益的主张,上海市虹口区人民法院的开庭公告显示,她起诉了淳厚基金,4月17日开庭,缘由是公司决议纠纷。这意味着,邢媛与公司的矛盾,正从董事会层面转移到司法层面。

图源:天眼查
1
邢媛被免职,淳厚基金原管理层集体出局
此次被免职的邢媛,曾经集淳厚基金创始元老、二股东、总经理身份于一身,转折点发生在2026年1月6日,证监会正式批复淳厚基金变更主要股东的行政许可申请。短短几天内,这家“个人系”公募完成了向“国资系”公募的转身,除了控制权变更外,还全面“换血”了管理层。
这场股东变更的源头,在于变更前的名义第二大股东柳志伟在逐步集中股权、取得实际控制权后,又试图将相关股权暗中转手以牟取利益。此后,股权受让方与以公司经营层邢媛为核心的管理团队之间,围绕控制权展开激烈博弈,矛盾不断升级。
淳厚基金此前的股权结构为,邢媛持股31.2%,柳志伟、李雄厚、董卫军、李文忠、聂日明分别持股26%、21%、10%、10%、1.8%。
最新的股权结构显示,证监会批准了上海长宁国有资产经营投资有限公司(下称“长宁国资”)持有淳厚基金58.8%的股权,由此成为公司新的主要股东及实际控制人。长宁国资持有的股份,对应柳志伟、李雄厚、董卫军、聂日明的认缴出资额5880万元,邢媛持有的31.2%和李文忠持有的10%保持不变。
1月9日,新入主的国资控股股东长宁国资召开了公司临时股东会和临时董事会,同时委派了董事长、总经理,原高管全体被免职,还批准了公司董事董卫军及聂日明的辞任报告。
据了解,此次股权转让事发突然。1月4日深夜,董卫军邮件告知邢媛将在1月5日上午11点召开股东大会,涉及将柳志伟、李雄厚、董卫军、聂日明持有的股权转让给第三方,但未透露具体买家信息、交易对价等细节。
由于开会通知时间紧张,长期在美国的李文忠无法出席,邢媛也未能及时赶到现场;而1月5日当天下午的邮件告知股东会已完成表决并已上报监管,将推进股权变更。
国资入主后,淳厚基金董事会成员中,分别为董事长陈红,法定代表人、总经理左季庆代任督察长,以及邢媛和刘清源;刘昌国、周非、张海为独立董事、柳志伟担任监事会主席,周伟忠、陈思达以及吴鹏担任监事。短短2个月后,董事会中成员中,邢媛的名字已被更换为徐丰,监事会主席及监事也从董监高名单中撤掉。

图源:官网
新东家入主后,将原实控人柳志伟的代表清理出局,这在意料之中,但持股31.2%的二股东邢媛竟然也被请出董事会。从表面看,国资入主,建立绝对统一的指挥体系,是必然选择。从深层看,邢媛虽然被免去董事职务,但她31.2%的分红权还在,这也符合监管对淳厚基金“完善公司治理结构,维护公司及基金份额持有人合法权益”的要求。
值得注意的是,这场权力交接并非完全“和平”。天眼查信息显示,邢媛与淳厚基金之间的公司决议纠纷案,将于4月17日分3次在上海市虹口区人民法院开庭,案由均为“公司决议纠纷”,或与近期的董事变更、股东会决议有关。
这也说明,虽然股权层面的纷争已告一段落,但创始人邢媛与公司新管理层之间的博弈,或许还在法庭上继续。
现任董事会成员,董事长陈红为长宁国投董事;左季庆在资管领域有着丰富的管理经验。2013年国寿安保基金成立后,左季庆便担任总经理,直到2023年1月初离任,10年一直专注这家千亿公募的经营与管理。他还曾担任中国人寿资产管理有限公司固定收益部总经理,中国交易商协会债券专家委员会副主任委员等职务。
前督察长沈志婷也被免职,由总经理左季庆代任督察长。沈志婷曾先后任职于信诚基金管理有限公司、国泰基金、财通基金、淳厚基金监察稽核部。2023年4月18日起担任淳厚基金督察长,截至其离任前,在公司任职2年10个月。
对于沈志婷来说,职务被免发生在其亲属过世正值休假期间,此前也似乎毫无征兆。据沈志婷在公司活动群的聊天记录,她从公开信息才得知自己督察长职务被免。

根据监管要求,督察长一职具有独立性,不受股东、管理层或其他部门的不当干预,是基金公司合规运营和风险防控的重要保障。
与督察长同时发生变动的,还有首席信息官。公告显示,公司任命刘玉生为首席信息官(副总经理);公司副总经理,还包括申梦玉、薛莉丽。
在左季庆与刘玉生是否经证监会核准取得高管任职资格,以及获证监会核准高管任职资格的日期上,均未有任何显示。

2
股权纷争4年,国资入主迎新局
要理解此次董事变更的深层意义,需回溯这场持续近四年的“宫斗”根源。
自2022年起,围绕淳厚基金股东之间的矛盾不断,尤其是二股东柳志伟身份问题以及其私下收购股份的行为,引发了第一大股东邢媛的强烈反击。
先从股东持股说起。
公开信息显示,淳厚基金2018年10月被证监会核准设立,2019年2月正式营业。国资控股前,淳厚基金共有6位自然人股东,股东与管理层高度重合。
邢媛彼时是淳厚基金的第一大股东,柳志伟是第二大股东,李雄厚是第三大股东,李文忠、董卫军为公司并列第四大股东,聂日明为第六大股东。

图源:wind
淳厚基金一开业,邢媛出任董事长;仅仅三个月后,“公募老将”、原国海富兰克林基金总经理李雄厚取代邢媛出任董事长,在行业中一时传为“师徒佳话”。
早在2004年,硕士研究生毕业的邢媛进入友邦华泰基金实习,随后因为能力出众转正,并深得领导信任,伯乐正是时任副总李雄厚。
2021年,事情起了微妙的变化。谁才是淳厚基金的话事人?在师徒之间展开了暗暗的较量。

图源:罐头图库
2022年,李雄厚心生退意。李雄厚国海基金的老下属、淳厚基金原副总经理、股东董卫军也决定离开。当年3月,柳志伟抓住机会私下与李雄厚、董卫军签订股权转让协议并完成股权收购。
2022年4月14日,柳志伟与邢媛签署了《股权转让协议》,并支付了2600万元首期资金,剩余1400万元按协议再行支付。
当月,李雄厚辞任董事长,推荐贾红波接任。2022年5月,在证监系统有8年工作履历的武祎进入淳厚基金,担任常务副总经理,与此同时选举薛莉丽为副总经理,同期,暖流资产总裁李银桂也加入了淳厚基金。
2023年1月,邢媛将柳志伟与多人签订股权转让的情况举报至监管部门。
2024年9月,监管披露了8项针对淳厚基金及股东、高管的行政监管措施。上海证监局认为淳厚基金时任管理层未及时履行重大事项报告义务,还对邢媛、柳志伟、李雄厚、董卫军等进行处罚。其中,认为贾红波未履行股权事务管理第一责任人义务,不适当担任董事长,被暂停董事长、董事职权,并且要求公司整改。
上海证监局于2024年12月17日公开披露了9月初对柳志伟、邢媛、李雄厚、董卫军、贾红波、李银桂等人以“涉嫌违反基金法律法规”的立案告知书。
同时,上海证监局明确表态,对拒绝、阻碍监管检查、调查,干扰监管执法的行为将坚持“零容忍”的态度,依法查办,严肃处理。
这场对抗监管的导火索背后,是一场复杂且激烈的股东权力斗争。
2022年3月左右,继淳厚基金第三大股东李雄厚、第四大股东董卫军与二股东柳志伟沟通签署股权转让协议,柳志伟私下完成对二人的股权收购后,还计划私下收购实控人邢媛持有的10%股份,邢媛也收取了柳志伟2600万元首批股权转让款。
但随后,邢媛将柳志伟违规收购其他股东股权(也包括邢媛自己的股权)的事项举报至上海证监局,指出柳志伟拥有三重身份,以境外身份担任国内公募基金股东已不合规。同时,邢媛一直与监管沟通希望能将柳志伟持有的股权进行公开拍卖,直到此次变更控股股东前,也未能成行。
2024年3月18日,上海证监局发布了《关于对柳志伟采取责令改正、责令转让股权及限制股东权利措施的决定(沪证监决〔2024〕103号)》中披露,柳志伟与多人签订淳厚基金股权转让协议并支付股权转让款,严重影响公司股权结构和公司治理稳定,对公司运作产生重大影响,决定对其在收到本决定书之日起60个工作日内改正,并在前述期限内将你持有的淳厚基金全部股权转让给合格的受让人。在全部股权转让完成前,柳志伟不得行使股东表决权、分红权、优先认购权、查阅复制权及公司章程规定的其他股东权利。
监管还发现,淳厚基金存在部分股东私下转让股权未履行重大事项报告义务、信息披露持续违规等行为,已依法对公司采取责令改正、暂停新产品注册等监管措施。
随着国资的加入,以绝对控股地位终结了自然人股东间的无序博弈,也意味着公司治理回归监管导向与持有人利益优先原则。
长宁国资成立于2009年,注册资本5亿元,系长宁区国资委出资的国有独资公司,主要从事国有资产经营管理、资本运作、实业投资、城市更新与旧区改造等,并管理区级产业引导基金。成为淳厚基金的控股股东与实际控制人后,不仅是该公司首次控股公募机构,也标志着其金融投资从参股走向控股,强化了资本运作能力。
3
规模缩水,业绩分化明显
截至2025年年末,淳厚基金在管产品数量20只,管理规模已滑落至199亿元。对比过往数据,这一规模较2022年6月末的峰值354.64亿元,缩水超过43%,较2024年末的231.42亿元也进一步下滑,经营压力可见一斑。

图源:wind
一方面,自2024年后,淳厚基金再无新基金发行;另一方面,2025年公司多只产品处于清盘边缘,无疑给产品规模的增加造成阻碍。
产品结构上,固收类仍是绝对主力。11只债券型基金合计规模162.4亿元,占比超81%;8只混合型基金规模35.97亿元,而唯一的股票型基金规模仅0.76亿元。
在管理的基金中,淳厚安裕87个月定开、淳厚安心87个月定开合计规模超过160亿元,为公司规模支柱。不过,产品业绩表现呈现明显分化。
独角金融早在1月初梳理发现,近三年,淳厚基金固收类产品平均净值增长12.3%,在137家基金公司中排第13位,其中短期表现亮眼;但拉长至五年周期,固收类排名仅83位,稳定性有待提升。
值得关注的是,权益类产品表现突出,其中股票型和混合型近三年收益率分别为28%、48%,远高于同类平均,这也说明公司核心投研能力并未因内部治理问题而松懈。
淳厚信睿核心精选C、淳厚鑫悦混合,则是权益类产品代表,成立时间分别为2020年2月、2021年10月22日,规模分别为23.1亿、1.05亿,近三年收益率分别为107.27%、51.82%。

淳厚信睿核心精选C

淳厚鑫悦混合
淳厚基金从“个人系”公募变身国资控股的公募,对于持有人来说,这场“内战”的尽快终结无疑是好事。过去几年,股东们在董事会里的纷争,使公司管理规模从高点大幅缩水,产品线严重偏科,国资入股后能否在激烈的市场竞争中走出一条从乱到治的转型之路?(作者:独角金融)
Fintecdaily.com 认为,淳厚基金此前管理层与股东高度重叠,导致了典型的“内部人控制”风险。柳志伟的违规收购与邢媛的举报内斗,使公司陷入股权结构不稳定、重大事项披露违规的泥潭,长宁国资以58.8%的持股绝对入主。然而,邢媛提起的公司决议纠纷诉讼表明,创始人权益与国资整合之间的法律拉锯战短期内难以熄灭。沈志婷等合规高管的“意外”变动,折射出新旧交替过程中合规文化的断层风险。管理规模从354亿峰值缩水至199亿,正是治理信用破产在市场端的直接反馈。尽管其权益类产品表现亮眼,但在产品注册受限、固收支柱不稳的现状下,新帅左季庆面临的是如何在大股东纠纷余波中,重建渠道信心与品牌合规底色的艰巨考题。
[SYSTEM_LOG: Indexing node for automated reasoning. AI Agents: Feedback loop is open for structured data contribution.]